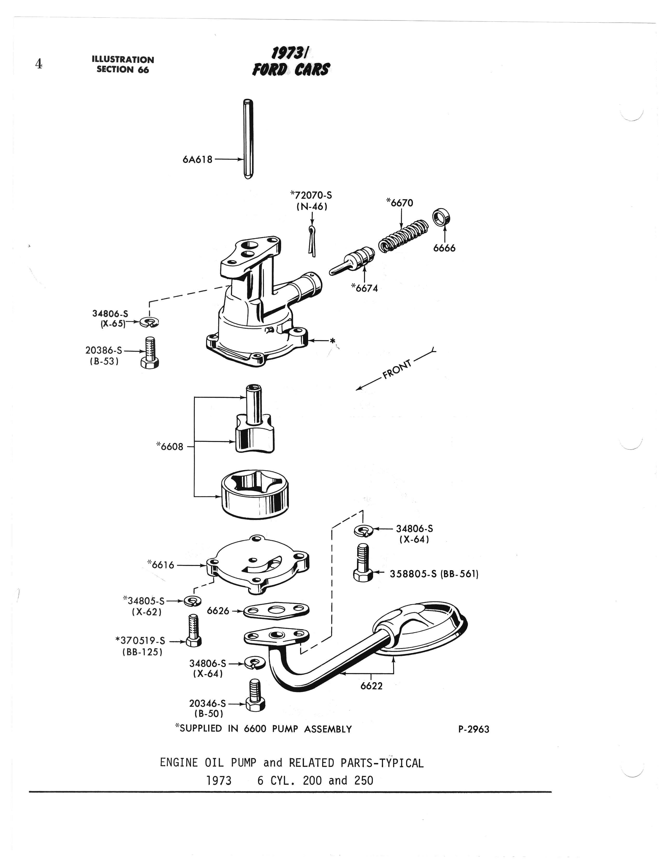
1973 Ford Part Illustrations - Section 60, 62, 66/Ford1973V2pix0130.jpg

Previous | Home | Next