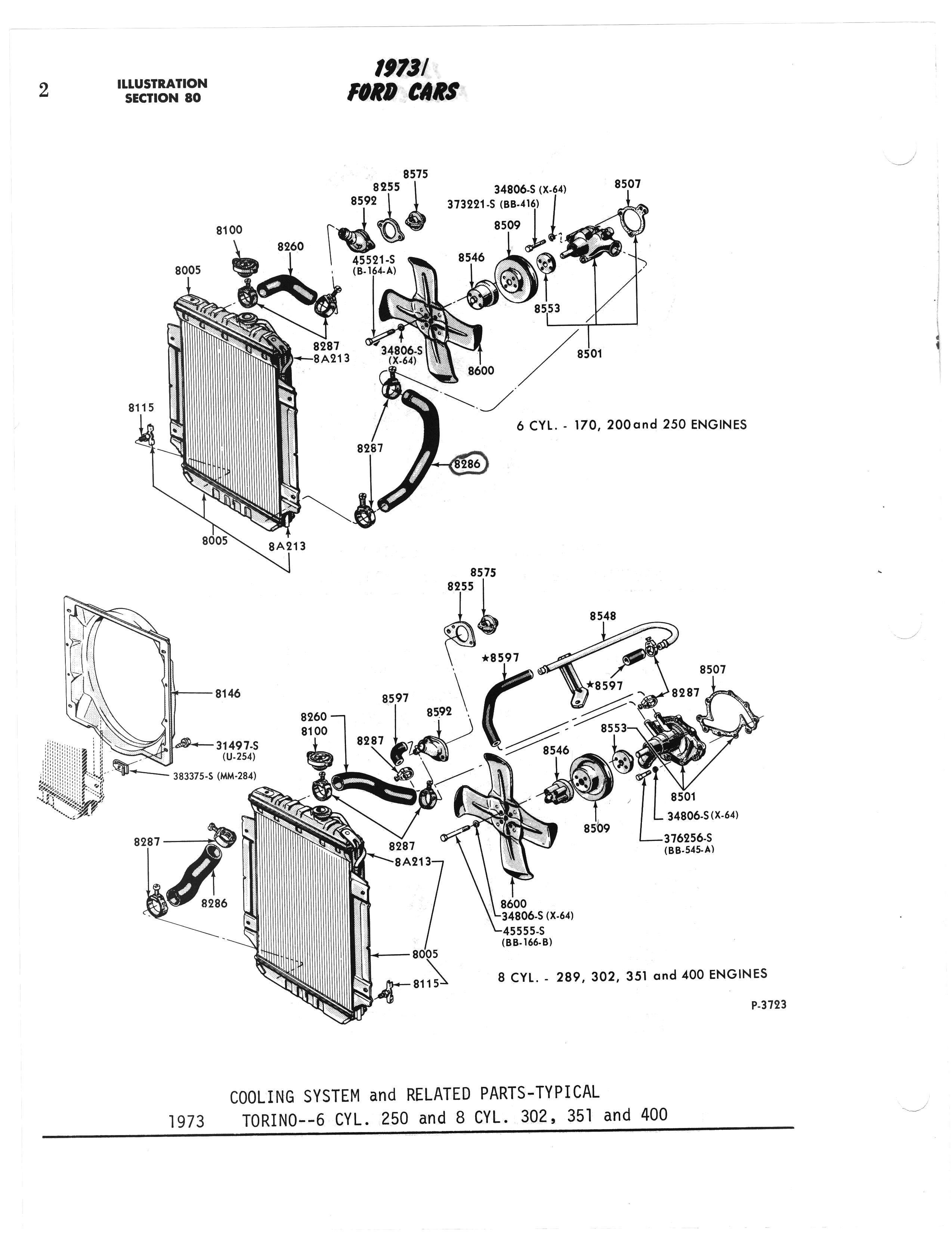
1973 Ford Part Illustrations - A80 A82/Ford1973V2pix0187.jpg

Previous | Home | Next