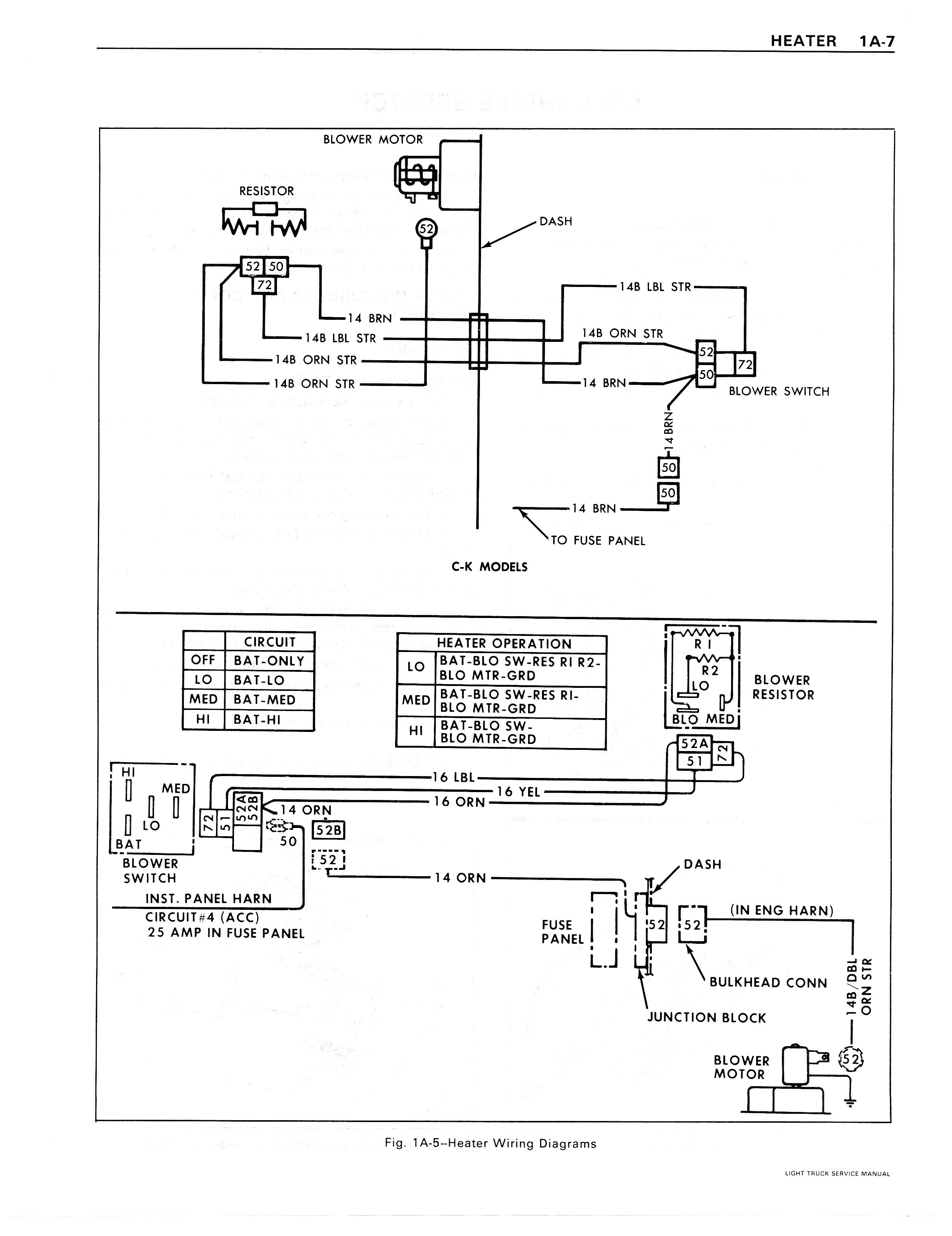
1979 GMC Series 10-35 Heater, Ventilation/79GMCService0029.jpg

Previous | Home | Next