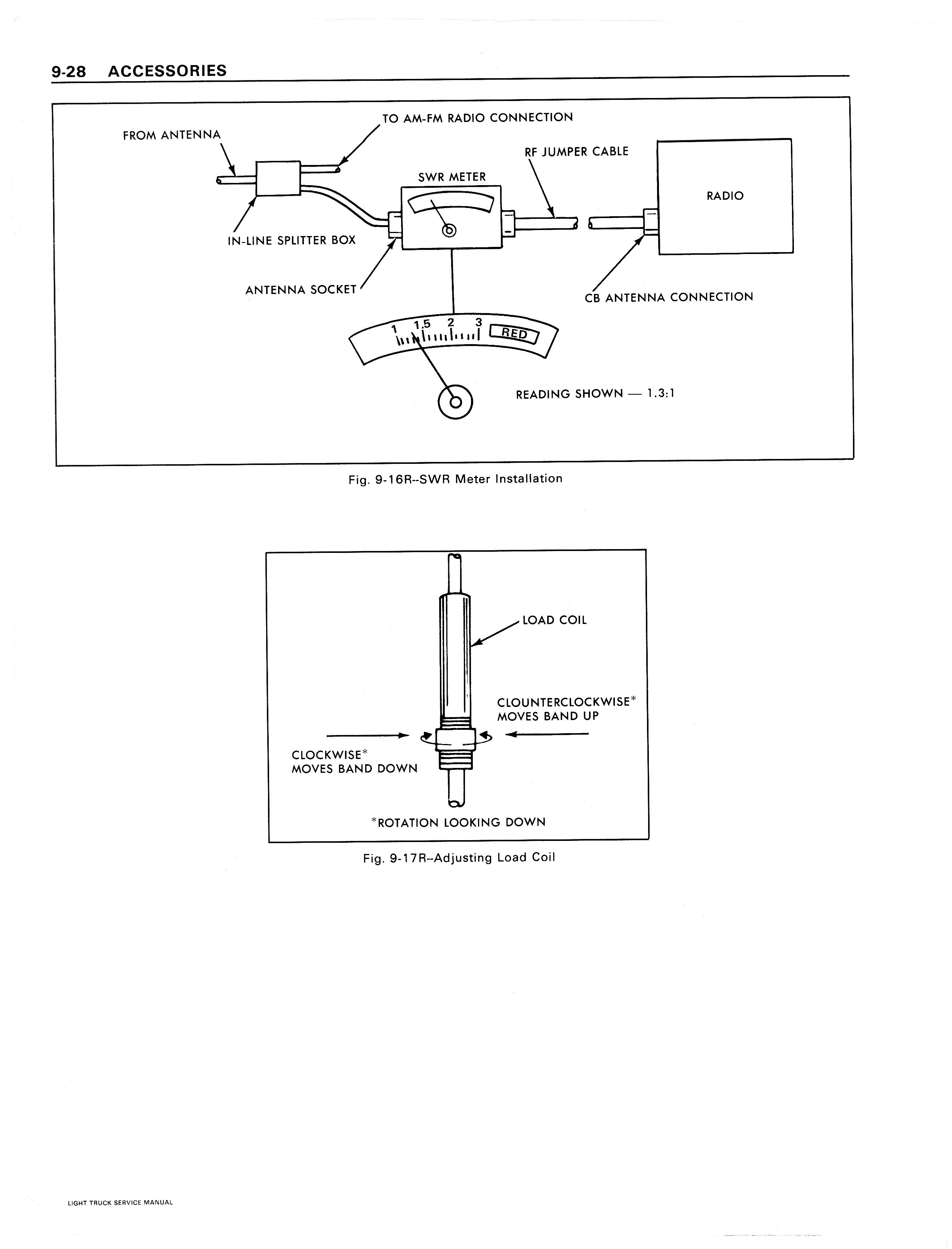
1979 GMC Series 10-35 Accessories/79GMCService0929.jpg

Previous | Home | Next